Qingdao Xin Aneng Conveying Machinery Co., Ltd.
Qingdao Xin Aneng Conveying Machinery Co., Ltd.
خبریں

کلینر پروٹوکول کا عزم

1.1 کلینر پروگرام کا تعین

کوئلے کی دھول کی چپکنے والی ٹیپ کو جھاڑو جس پر عمل پیرا ہوا ہے۔ جیسا کہ ہم سب جانتے ہیں ، کان کنی کے چہرے سے منتقل کیے گئے کچے کوئلے میں نمی کی مختلف ڈگری ہوتی ہے ، اور اس میں ٹیپ کی سطح پر ٹھیک پلورائزڈ کوئلے کو بندھن کرنا آسان ہے۔ اگر ٹیپ سے منسلک پلورائزڈ کوئلے کو صاف نہیں کیا گیا ہے تو ، پلورائزڈ کوئلے کو بیلٹ اسٹوریج بن اور رولر کو خالی سیکشن (یعنی نیچے کی بیلٹ) میں پورے نیچے والے بیلٹ کے نیچے لایا جائے گا ، اور یہ بنیادی طور پر بیلٹ اسٹوریج ڈبے میں جمع کیا جائے گا۔

اہم نتائج یہ ہیں:

بیلٹ اسٹوریج بن میں پلورائزڈ کوئلے کی ایک بڑی مقدار جمع ہوتی ہے ، جو سپورٹ رولر کو دفن کرتی ہے ، جس کی وجہ سے رولر کام کرنے میں ناکام رہتا ہے اور بیلٹ کی خدمت کی زندگی کو متاثر کرتا ہے۔

2) بیلٹ آپریشن کے انحراف سے کنارے پھانسی یا پھاڑنے والے حادثے کا سبب بنے گا۔

3) ٹیپ کی چلنے والی مزاحمت میں اضافہ کریں اور لاگت میں اضافہ کریں۔

4) کوئلے کی صفائی کی مقدار میں اضافہ ہوتا ہے ، جس سے مزدوروں کی مزدوری کی شدت میں اضافہ ہوتا ہے۔

کوئلے کے کلینرز کے استعمال میں ، حل کرنے کے لئے تین مسائل ہیں:

1) صفائی کا اثر اچھا ہونا چاہئے۔

2) کلینر کو تبدیل کرنا آسان ہے ، اور بحالی کا کام کا بوجھ چھوٹا ہونا چاہئے۔

3) صاف پلورائزڈ کوئلے کے لئے ایک راستہ ہونا ضروری ہے۔

1. موجودہ صورتحال کا تجزیہ

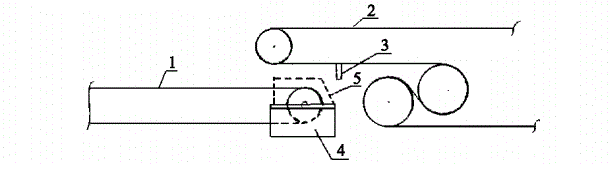
1) روایتی کوئلے کے کلینر کی ساخت اور پوزیشن


جیسا کہ شکل 2-1 سے دیکھا جاسکتا ہے ، کوئلے کا کلینر عام طور پر ڈھول کے عقبی حصے میں نصب ہوتا ہے۔ کوئلہ کلینر کوئلے کے صاف ستھرا فریم بنانے کے لئے دو اسپلٹ کے وسط میں ٹیپ کا ایک ٹکڑا ٹھیک کرنا ہے ، کوئلے کے کلینر ٹیپ کو کھوکھلی ٹیپ پر چھڑی بنانے کے لئے پن اور لیور ڈھانچے کا استعمال کریں ، کوئلے کو صاف کرنے کے لئے موسم بہار کے تناؤ کا استعمال کریں اور کھوکھلی بیلٹ ایک خاص دباؤ پیدا کرسکتی ہے ، اور دباؤ معاوضے کے بعد کوئلے کے کلینر ٹیپ کو پہن سکتی ہے۔

2) روایتی کوئلے کے کلینرز کے نقائص

a. کوئلے کا کلینر صفائی کرنے والی ٹیپ پر مشتمل ہے ، اور چونکہ نیچے کی بیلٹ ایک کھوکھلی بیلٹ ہے ، لہذا بیلٹ کوئلے کے کلینر کے دباؤ میں تیرتا ہے ، کوئلے کے کلینر کا دباؤ کافی نہیں ہے ، اور صفائی کا اثر ناقص ہے۔

.۔ کوئلے کا کلینر ان لوڈنگ ڈرم کے پچھلے حصے پر ہے ، اور عام طور پر انسٹالیشن کے حالات کے مطابق ان لوڈنگ ڈرم سے 1 ملین سے زیادہ دور ہوتا ہے ، اور صفائی کے تحت کوئلے کو کوئلے کو اگلے بیلٹ میں پھسلنے کے لئے ایک چھوٹے سے کوئلے کے ہاپپر پر کارروائی کرنے کی ضرورت ہوتی ہے ، لیکن بعض اوقات اس لئے کہ زیرزمین جگہ کی اونچائی کافی نہیں ہے ، کوئلے کو پھسل نہیں سکتا ہے۔

c کوئلے کے کلینر کا متبادل کام کا بوجھ بہت بڑا ہے ، جو کوئلے کے کلینر کو نقصان میں آسان بنا دیتا ہے ، اور متبادل سائیکل بھی بہت چھوٹا ہے۔

3) عام بیلٹ ٹرانسپورٹ لیپ جوائنٹ

ایک عام بیلٹ ٹرانسپورٹ گود کو شکل 2-2 میں دکھایا گیا ہے۔

جیسا کہ شکل 2-2 سے دیکھا جاسکتا ہے ، کوئلے کے کلینر کے نیچے کوئلہ براہ راست بیلٹ پر نہیں پھسل سکتا ، اور "کوئلے کی کان کی حفاظت کے ضوابط" کی دفعات کے مطابق ، تمام سامان کے 35 حصوں کو حفاظتی آلہ (یعنی ایک ڈھال) سے لیس ہونا چاہئے ، لہذا بیلٹ ڈھال سے لیس ہونے کے بعد ، کوئلے کا مسئلہ دو بیلٹ سے پھسل جاتا ہے۔

متعلقہ خبریں۔
مجھے ایک پیغام چھوڑ دو
X
ہم آپ کو براؤزنگ کا بہتر تجربہ پیش کرنے ، سائٹ ٹریفک کا تجزیہ کرنے اور مواد کو ذاتی نوعیت دینے کے لئے کوکیز کا استعمال کرتے ہیں۔ اس سائٹ کا استعمال کرکے ، آپ کوکیز کے ہمارے استعمال سے اتفاق کرتے ہیں۔ رازداری کی پالیسی
مسترد قبول کریں